- 探究扩展RF/微波测量的频率范围的方法
- 采用增加PXI基RF分析系统频率性能的方法
- 使用可调谐本振来控制杂散频率和镜象频率
前言
虚拟仪器和合成仪器,是近年来业内人士经常谈论的热门话题。与传统的机柜式产品相比,采用模块化方案,其更新和重构系统的成本更低廉。VXI和PXI是常用的两种标准,相比之下,PXI的体积更小、重量更轻、总线更快,因而使用也更广泛。
然而,习惯于常规仪器的行家里手会质疑,RF和微波仪器产品能否在PXI中实现。数字信号十分合适,低功率设备也不成问题。甚至数字示波器和任意波形发生器一类仪表也可以做成PXI格式,但RF和微波测试装置却不行。

图1 典型的单级下变频器方框图

图2 典型的单级上变频器方框图
对小型、经济实用和可重构的RF与微波测量系统和发生器系统的需求一直保持着强劲的势头,唯一的出路是另辟蹊径。变频不失为一种简便、有效的技术。例如,将RF信号下变频至较低的频率,比如20MHz~30MHz,就可以用数字化仪来处理。一旦信号转换成数字格式,从数据中提取信息,诸如频率、功率、调制和谐波成分则相对地容易。采用相反的过程能提供系统的信号发生器功能。低频信号送入上变频器,最终输出一个感兴趣频带的有用频率,调制可以通过任意波形发生器提供,也可以用软件创建。
[page]
当前的系统水平
当前的PXI RF分析系统的频率上限为2.7GHz或3GHz,辅以相应的软件可提供下列测试功能:
频谱分析
功率测量(峰值和平均值)
邻道功率测量
调制分析
占用频带
频率响应
具有上述测量功能系统的典型成本约为15000美元.一台频谱分析仪的价格也大体如此.尽管PXI RF分析仪不一定具备同类单台产品的全部性能指标,但它确实能以较低成本提供欲完成任务的足够性能。在大多数场合,RF分析仪用于生产环境,在这种环境中,工作速度和使用方便性比最高性能更重要。不仅如此,对准确测量应用,其软件包是可以用户定制的。
变频技术
近年来,为了用PXI实现802.11a测试,必须将5.6GHz频带下变频至1.1GHz~2.2GHz。下面详细考察各种变频方案,并讨论它们的优缺点。

表1 下变频技术

表2 上变频技术
表1列举了3种主要的下变频技术,同时指出了各自优缺点。基本混频似乎是最佳方案。在4.6GHz~6GHz下变频场合,使用固定频率的本振,1.1GHz输出信号的频带与输入信号频带相同,因此称为区变频。
采用这一方案,一个双槽宽PXI下变频器模块将4.9GHz~6GHz频带中信号变频至1.1GHz~2.2GHz频带中信号。模块的方框图如图1所示。下变频器器设有一个锁定在RF分析仪10MHz基振的固定频率本振,输入信号与本振混频,然后经滤波后提供较低频率的输出。

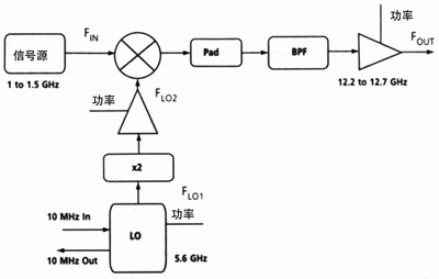
图3 12.2GHz-12.7GHz上变频器方框图
任何时候两个信号混频,得到的将不仅仅是所需要的频率,还存在很多其它的频率。因此,下变频器设计必须保证将这些无用的信号全部过滤掉。滤波器同时还能降低本振信号在变频器输入和输出上的电平。在混频器的3个端口中还可增加一个小型2dB衰减器,来改善匹配度和系统的总平坦度。混频器会产生下边带和上边带。在此场合,选择下边带来覆盖1.1GHz~2.2GHz频带。上边带由混频器输出端的低通滤波器过滤掉。然而,选择下边带会产生频谱倒置的复杂情况。例如,倘若本振频率(FLO)为7.1GHz,输入频率(FIN)为4.9GHz,那末输出频率(FOUT)为2.2GHz或12GHz.
FOUT=FLO+FIN
12GHz信号经低通滤波器大于60dB的衰减,对输出影响很小。同样,6GHz输入频率会产生1.1GHz和13.1GHz输出频率。这样,如果在输入端扫频,而在捡得的输出端进行观察,频带的低端出现在显示的右边,而高端在左边。这个扫描图形正好与观察扫描频率的习惯方式相反。幸运的是,频谱倒置能很容易用软件校正,显示返回到正常的方式。
为了解决信号发生器的需求,一个上变频器将信号从1.1GHz~2.2GHz频带变换至4.9GHz~6GHz频带。表2列出了上变频器的两种技术。同样,我们选择基本混频方案。上变频器的方框图基本上和下变频器类似,只是作些变更以适应输入频率低于输出频率(图2)。同样可以用2dB衰减器来改善混频器每个端口的匹配度。用相同的混频器和开关来提供变频或直通性能。上边带由输出级的带通滤波器除去,最终的输出电平用可程控衰减器进行高速调整,为了便于观察,针对频谱倒置的校正是必不可少的。
为了实现802.11a测试,RF分析系统的成本增加至5000美元~8000美元。而一台新的信号发生器或频谱分析仪,想要覆盖扩展的频率范围,其成本至少高出5倍以上。
Wi Max要求
通信事业的发展不可能停止不前,新的应用层出不穷。一种新的标准是WiMax或80216a,全称是微波接入全球互通它是一项无线城域网(WMAN)技术,是针对微波或毫米波频段提出的一种新的无线接口标准。它用于将终端无线接入到互联网,也可以将公司或家庭环境连接至有线骨干网,作为线缆或DSL的线扩展技术,实现无线宽带接入。
Wi Max给出了2GHz~66GHz极宽的频率范围。目前考虑的是2GHz~11GHz频段Wi Max规章工作组建议先采用2.5GHz,3.5GHz以及5.8GHz频段。如果这一标准被广泛地采纳,就要求调制解调器工作在这些频段。对于PXI基RF分析仪。只要工作带宽不超过500MHz,仍然可以使用图1所示的简单分区下变频器来完成这个任务。当然,本振频率和相应的滤波器需作些改动。这一方案也适用于上变频器。然而当输出频率在12.2GHz~12.7GHz时,上变频器可按图3所示的框图进行设计。
宽带应用
某些应用需要大于500MHz的带宽,在这些场合,必须使用可调谐本振来控制杂散频率和镜象频率。采用锁定在10MHz基振的YIG调谐的合成器,已设计了一种覆盖2.7GHz~6GHz的变频器。带调谐的变频器,其输出频率范围无法达到输入频率范围相同带宽,因而频带需分段进行分析。由于有用带宽在20MHz~30MHz范围,处于当前频率扩展设计的能力之内,不会出现什么问题。
尽管调谐本振的复杂程度较高,变频器方案仍不失为扩展当前RF分析系统频率范围的最经济,最方便的方法。
结语
简单的变频器是增加PXI基RF分析系统频率性能最经济,最有效的方法。系统软件无需作大的改动,工作在透明的方式,且提供充分的灵活性。当要求变化时,需要改动的只是变频器部分而不是整个系统。这是机柜式仪器无法达到的。






